Abstract
This study presents aluminum nitride/silicone rubber composite as a drag reduction material, inspired by the boundary heating drag reduction mechanism of dolphin skin. Aluminum nitride was added as a thermal conductive filler at weight fractions of 16.67, 21.05, and 28.57 wt% to pristine silicone rubber. Tests of the thermal conductivity and tensile properties showed that the thermal conductivity of all three aluminum nitride/silicone rubber composites were increased 27.9%, 41.4%, and 43.7% than that of the pristine silicone rubber, and the elastic modulus of the composites was increased with the aluminum nitride content. Droplet velocity testing, which can reflect the drag reduction mechanism of the heating boundary controlled by the aluminum nitride/silicone rubber composites, was performed between all three aluminum nitride/silicone rubber composites and pristine silicone rubber. The results showed that the droplet velocity of all three aluminum nitride/silicone rubber composites were higher than pristine silicone rubber, implying that the composites had a drag-reducing function. In terms of the drag-reducing mechanism, the heat conductivity performance of the aluminum nitride/silicone rubber accelerates the heat transfer between the aluminum nitride/silicone rubber composite surface and droplet. The forces between the molecules and droplet dynamic viscosity are reduced, which result in drag reduction. The application of aluminum nitride/silicone rubber composite to control fluid medium will have important value for fluid machinery.
Introduction
As a bionic prototype of a drag-reducing surface, dolphin skin has generated considerable attention during the past 80 years. Most of the researches have focused on the mechanism of skin elasticity1–4 and special skin structure5,6 to control the fluid medium. Some research also indicates that boundary heating mechanism by the dolphin’s skin reduces the viscosity of the fluid, which leads to drag reduction, because there is a 9°C difference in temperature between the dolphin’s skin and the boundary layer fluid when a dolphin is swimming at high speed.7–10 It is well known that the frictional resistance between the surface and the fluid is positively correlated with the dynamic viscosity of liquid; the latter decreases as the temperature increases,11,12 so the drag reduction occurs when the liquid dynamic viscosity decreases. Many studies have confirmed a compliance effect on drag reduction using highly elastic polymer materials such as silicone rubber (SR) and polyurethane to mimic dolphin skin.13,14 However, most elastic polymer materials are poor heat conductors, so there is insufficient evidence to verify boundary heating as the mechanism of drag reduction in dolphins. Furthermore, when using highly elastic polymer materials to control the fluid medium, the heat produced by the large elastic deformation is not dissipated, resulting in accelerated aging and failures. This decreases the effect of drag reduction, thus limiting the material’s application in engineering. Therefore, a material with both elastic characteristics and thermal conductivity properties should be considered for applications in fluid control engineering.
A direct and simple way to improve the performance of the thermal conductivity of a polymer is to add particles with high thermal conductivity. Traditional fillers include carbon black,15,16 zinc oxide fillers,17,18 boron nitride fillers, 19 diamond fillers, 20 and others.21–28 However, to improve the thermal conductivity of a polymer such as silicon rubber, these traditional fillers must have a large enough weight (wt) load, which greatly affects their physical properties, 29 especially their elastic properties. Compared with these traditional particles, aluminum nitride (ALN) has a higher thermal conductivity, 30 and at the same volume fraction, the ALN filler can make the SR with good physical properties.
First, inspired by the fluid control mechanism of the elastic and boundary heating abilities of dolphin skin, this study sought to design and prepare an aluminum nitride/silicone rubber (ALN/SR) composite using ALN as the filler to improve the thermal conductivity without changing or even reducing the elastic modulus of the SR. Second, through the thermal conductivity of the ALN/SR composite, this study sought to control the fluid dynamic viscosity to reduce the fluid viscosity resistance.
Materials and methods
Preparation of the ALN/SR composite
The ALN used as thermal conductive fillers in this study came from YINO New Material Co., Ltd, Qinhuangdao, China. The dimensions of ALN particles are 2–5 µm, and the purity of the ALN is greater than 99.99%. The SR used in this study was RTV-2 molding SR purchased from Bo Rui Sandstone, Fiberglass Resin, and Silicone Raw Materials Co., Guangdong, China, and the coupling agent KH-550 (the chemical name is 3-amino propyl triethoxy silane) and curing agent tetrapropoxysilane used were also from the same company.
In this study, the surfaces of the ALNs were pretreated with a coupling agent KH-550. Through trial and error, 0.6 g of KH-550 could make ALN and SR combine better and ALN disperse more evenly. First, 0.6 g of KH-550 was mixed in 50 ml of ethanol (99.6%) using a mechanical agitator at a rotation speed of 1200 r/min, stirring the mixture evenly for 20 min. Second, the ALNs were slowly added to this mixture while stirring constantly for 2 h until the ALNs were evenly dispersed. Finally, the mixture was placed in a vacuum drying oven for 12 h at 110°C to ensure that all of the ethanol was removed.
After pretreatment, three different qualities including 6, 8, and 12 g of ALNs were dispersed in the same quality of 30 g SR matrix, respectively. For clarity, the ALN/silicone composite materials were expressed as 16.67 wt% ALN/SR, 21.05 wt% ALN/SR, and 28.57 wt% ALN/SR; here, the ALN weight fraction (
where
Tensile test
Tensile tests were used to investigate the elastic modulus and tensile properties of the ALN/SR composites and pristine silicone rubber (PSR). The tensile tests were conducted using a rubber electronic tensile testing machine (UTM5305, YOUHONG Measurement and Control Technology Co., Ltd, Shanghai, China). A Transcell BSS-500 kg (accuracy of 0.01 N) force transducer was used, test sampling frequency set for 250 ms, and tensile speed was 500 mm/min. Beam samples of the composites materials with dimensions of 50 mm × 3.5 mm × 2.5 mm (length × width × height) were cut from the ALN/SR film as prepared above, and PSR samples with the same dimensions were selected as contrasting test samples. The elastic modulus of the test samples was obtained from the tensile strength testing results. The method was performed according to the ISO 37:2011.
31
First, selected an approximate linear scatter near the yield point from the tensile strength test. Second, calculated stress (
where
Thermal conductivity measurement test
The thermal conductivity coefficient of the ALN/SR composite material at different ALN contents and PSR were obtained using a thermal conductivity measurement method. All of the test samples were prepared as cylindrical samples with dimensions of 16 × 2.29 ± 0.099 mm (diameter × height); five samples were prepared for each of the various contents of ALN/SR composites and for PSR. First, the thermal diffusion coefficient and specific heat capacity of the above materials were measured using a laser flash heat-constant analyzer (STA1600; Linseis Messgeräte GmbH, Selb, Germany) at a temperature range from 301 to 389 K. Second, the density of the above materials was measured using a digital display rubber density tester (DH-300, Beijing Yiteno Electronic Technology Co., Ltd, Beijing, China). Third, the coefficient of thermal conductivity of the materials was calculated with equation (4)
where
Thermal conductivity–distilled water droplet velocity test
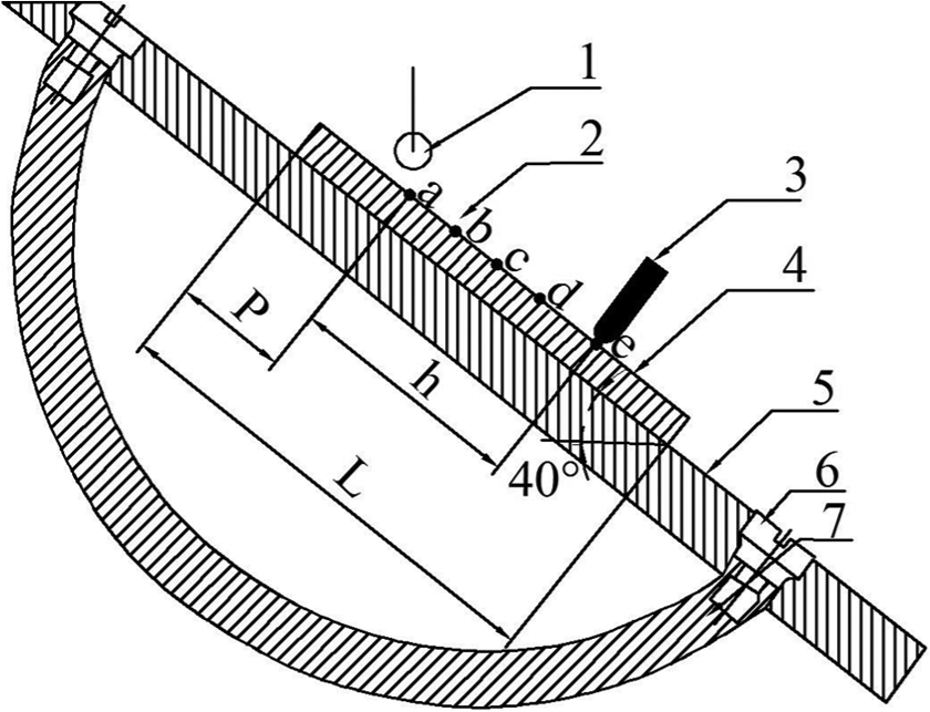
Although the droplet velocity did not influence the fluid drag directly, its speed changes could reflect its dynamic viscosity variation. When the water droplet absorbed the heat, the activity of the water molecules of a droplet at the thermal boundary layer increased, the forces between the molecules decreased, and the droplet dynamic viscosity decreased. The viscous friction resistance between the droplet and the surface of the ALN/SR composites was directly proportional to the dynamic viscosity, so drag reduction occurred. The droplet velocity test was designed according to the preceding principle. To observe the thermal conductive ability of the composites to control liquid droplets at different temperatures, a small test bench was set up based on the video optical contact angle measurement instrument (OCA20, Dataphysics Co., Ltd, Germany). A heating plate with accurate temperature control was fixed on the U-type rotating groove using the screw, a schematic diagram of which is shown in Figure 1. ALN/SR composites with three different ALN contents and PSR films as the contrasting test samples were prepared; all of the samples were with dimensions of 60 mm × 20 mm × 2.5 mm. The testing film was pasted onto the heating plate using its own stickiness, and the plate was angled at 40°. The heating plate was heated to temperatures of 308, 318, 328, 338, and 348 K, and the test samples were pasted onto the heating plate for 1 min at each temperature, respectively.

Schematic diagram of the test bench.
The temperature was measured at five selected points in the droplets’ area of effective movement using a thermocouple, temperature-sensing probe, and the average of the five measurements was used as the surface temperature of the testing membrane (Figure 1). The shape of the water droplets and their velocity were then observed according to the film surface temperature at the effective movement distance. To ensure that all of the water droplets had the same kinetic and potential energy, the height of the droplet from the film (20 mm) and the droplet volume (10.0 µL/drop) were the same for all tests.
Results and discussion
Observation test results
Figure 2 shows scanning electron microscopy (SEM) images of the fresh brittle fracture surface of a PSR (Figure 2(a)) and the ALN/SR composites at different ALN content (Figure 2(b)–(d)). When compared with the smooth brittle fracture surface of the PSR, there are many ALN particles in the SR matrix. At the same time, from Figure 2(b) and (c), we can see that the ALN fillers dispersed uniformly and independent of each other with the increase in ALN particles. However, when the ALN content increased to 28.57%, a reunion phenomenon is visible among the ALN fillers from Figure 2(d).

(a)–(d) SEM images of brittle fractured surface of PSR, composites reinforced with 16.67 wt% ALN, 21.05 wt% ALN, and 28.57 wt% ALN, respectively.
Elastic modulus and thermal conductivity
Figure 3(a) shows the results of tensile properties of all of the tested materials. The yield points of this work are determined by the ISO 37:2011, and it refers to the tensile stress at first point on the stress–strain curve where some further increase in strain occurs without any increase in stress. For the PSR, the yield point is a, and aa′ is almost straight line, so the scatter points in this parts are selected to calculate modulus of the material, the same as bb′ of 16.67 wt% ALN/SR, and so on. It can be seen that the tensile properties of ALN/SR composites decreased slightly compared with that of PSR, since a large number of ALN conductive fillers destroyed the continuity of the SR matrix; however, the elastic moduli differ according to the ALN content.

(a) and (b) The tensile strength and elastic modulus of composite materials and (c) the thermal conductive coefficient at different temperatures.
Figure 3(b) shows the elastic modulus of each material. The elastic modulus of PSR is 0.45 ± 0.012 MPa; the elastic modulus of all three ALN/SR composites are increased compared with that of the PSR and in proportion with the increase in ALN contents. When the ALN content is at 28.57 wt%, the elastic modulus increases multiplied, it is 1.32 ± 0.045 MPa, almost two times as that of the 16.67 wt%. Above phenomenon has very close relationship with the ALN agglomeration. The ALN dispersed in the SR became more difficult, and hence the ALN reunion phenomenon occurred. The reunion ALN lost the characteristic of flexible structure, and the hardness became enhancing. This means that the elastic property degraded with increasing ALN content.
Figure 3(c) shows the thermal conductivity coefficient for the PSR and ALN/SR composites at different temperatures. The thermal conductivity coefficients are effectively improved for all three ALN/SR composites, and they increase as the ALN content increases. From Figure 3(c), it can be seen that the thermal conductivity of ALN/SR composites almost doubles from 16.67 to 21.05 wt%, while almost stays constant from 21.05 to 28.57 wt%. This is because the thermal conductivity of ALN/SR composites mostly depends on the contents of ALN particles. When the content of ALN particles is 21.05 wt%, the filler–filler interaction is much more dominant than the filler–matrix interaction as ALN particles content is 16.67 wt%. So, the thermal conductivity of the ALN/SR composites at 21.05 wt% almost doubles compared to that of the 16.67 wt%. However, as the contents of ALN further increasing, the filler–filler interaction will result in filler agglomeration, and this phenomenon will affect the heat transfer efficiency of thermal conductive network chain, so at this condition, simply relay on increased conductive filler to improve their thermal performance will not work.
As for all the composites including PSR, the thermal conductivity of them reaching maximum at 338 K are due to their thermal conductivity mechanism and material-prepared defects. The thermal conductivity mechanism of PSR depends on the number of phonons (phonon is a non-real quasiparticle that is used to describe the thermal vibrations of atoms in a crystal) 32 and their vibration frequency; the higher the temperature, the more number of phonons would be. When the temperature of PSR obtains a certain degree, the number of phonons will reach the most, and the thermal conductivity of it will be the best. As for the ALN/SR composites, thermal conductivity mechanism of them depends on the density of thermal conductive network chain which formed by the ALN particles. In theory, they should not be affected by the temperature; however, in the present work, due to the defects resulted from the uneven dispersion of ALN particles during sample preparation, they are fluctuated with the temperature. From Figure 2(c) and (d), it can be seen that there exist obvious phenomenon of ALN reunion, sometimes even cavities, thus the thermal conductive network chains would be broken by above defects. At this condition, both heat transfer mechanism of phonon and thermal conductive network chain are coexist in the ALN/SR composites, so the thermal conductive trends of them are also sensitive to the temperature at some degree like PSR.
Droplet velocity at different temperatures
The droplet velocity at different temperatures reflects the changes in droplet dynamic viscosity directly and droplet viscous resistance indirectly, both of them are affected by temperature. Table 1 lists the surface temperature, droplet rolling angle (the smallest angle between inclined solid plane and flat plane which could made the droplet sliding alone inclined solid plane is defined as rolling angle), droplet speed of PSR and three ALN/SR composites films heated for 1 min at different temperatures. When the heating plate temperature is 308 K, the film surface temperature of the samples and droplet performances are completely different. In this experiment, the 21.05 wt% ALN/SR composite is selected as the object of analysis since its lower elasticity modulus and higher thermal conductivity. The droplet velocity on the 21.05 wt% ALN/SR surface is 6.11 × 10−4 m/s, which is about two times compared with that on the PSR surface. This phenomenon is closely related to the different thermal performances seen for the thermal resistance. In the drop velocity experiment, the test samples can be considered to exhibit single-wall heat conduction. The thermal resistance
where
Surface temperature, droplet rolling angle, and speed of composites at different temperatures.
PSR: pristine silicone rubber; ALN: aluminum nitride.
The addition of ALN caused the thermal resistance to decrease dramatically, although the temperature of the heating plate of the two materials is the same. After 1 min, the surface temperature of the PSR is 300.6 K, whereas that of the ALN/SR is about 305.8 K. The dynamic viscosities of the droplet decrease with increasing temperature, so the droplet velocity increases as the surface temperature rises. However, even though the surface temperatures of the two sample films are almost the same, or even if the temperature of the PSR is higher than that of ALN/SR (PSR: 314.5 K vs ALN/SR: 313.6 K), the droplet speed on the ALN/SR film is still higher than that on the PSR surface. Excluding the thermal resistance of the two films as one reason for this difference, the rolling angle of the two materials is also a reason. When the heating temperature increases, the water molecules in a droplet become very active and the forces between them decrease, which reduce the dynamic viscosity. At the same time, if the surface tension of the water droplets shows little change, then the water droplet shape must be in a condition that facilitates rolling, that is, the contact area between the droplet and material surface is smaller, and the drag between the water droplet and the surface will be reduced. In the above condition, the rolling angles of the two samples are 39° and 30°. The droplet rolling angle of ALN/SR is lower than that of PSR, which indicates that the ALN also changed the rolling angle of the ALN/SR composite material, and this material is good for controlling the fluid medium.
Table 1 shows that the droplet speed on the 21.05 wt% ALN/SR does not decrease immediately: it first rises with the increase in surface temperature and then after reaching a maximum value of 29.2 × 10−4 m/s at the surface temperature of 322.2 K, it sharply decreases again. We observed that the 21.05 wt% ALN/SR test sample became soft, and some grease precipitated on its surface when the surface temperature was higher than 333.3 K. This grease affects the droplet speed and rolling angle such that the droplet speed is decreased and the rolling angle is increased. However, for the PSR sample, although the heating plate temperature is 348 K, the surface temperature is still less than 333 K, so the trend in droplet speed is not similar to that of ALN/SR.
Thermal conductivity and drag reduction mechanism of ALN/SR
A combined thermoelastic mechanism is proposed to reveal the enhanced thermal conduction and elastic mechanisms of ALN/SR composite materials. For the PSR, the carrier of thermal conductivity is phonons that rely mainly on lattice vibration for heat conduction. Due to the poor crystallization of PSR and the scattering effect of the vibrations, the thermal conductivity of PSR is very low. The thermal conductivity of ALN/SR composite materials relies on electronic heat transfer and mutual interaction of lattice vibrations between the PSR matrix and the ALN fillers. The convective heat between the composite material’s surface and the water droplet has to pass through the fluid layer (thermal boundary layer), which has a wall velocity close to zero at the surface. The heat transfer through this layer depends almost entirely on thermal conductivity. The convective heat transfer coefficient could be expressed as equation (6) 33
where
When considering the drag reduction mechanism provided by the coexistence of both the elasticity and thermal conductivity of the ALN/SR composite material, we only consider the involvement of thermal conductivity, because many studies have already focused on the drag reduction mechanism of elasticity. The heat resource may be generated by elastic deformation under fluid pressure and can also be obtained through an additional heat source.
The results of the water droplet velocity experiment indicate that the ALN/SR composites have a drag reduction function. The drag of a sliding water droplet on the ALN/SR composite surface can be represented by equation (7) 34
where
Equation (8) is the Arrhenius equation,
35
where

Relationship between dynamic viscosity and temperature.
Conclusion
An ALN/SR composite material was designed and prepared inspired by the fluid control mechanism of the elastic and boundary heating abilities of dolphin skin. The thermal conductivity of ALN/SR composites relies on electronic heat transfer and mutual interaction of lattice vibrations between the PSR matrix and the ALN fillers. The thermal conductivity and tensile testing results show that the ALN/SR composite material with an ALN content of 28.57 wt% had the maximum thermal conductivity value. To obtain an optimal ALN/SR composite material with both good elastic properties and thermal conductivity performance, the ALN content at 21.05 wt% appears to be desirable for obtaining an optimal ALN/SR composite material with both good elastic properties and thermal conductivity performance. Droplet velocity testing results show that the ALN/SR accelerates the heat transfer between the surface and the droplet, thereby decreasing the dynamic viscosity and velocity gradient, resulting in drag reduction. The application of ALN/SR material to control fluid medium, using its elastic properties to control the flow pattern and its heat conduction performance to control the dynamic viscosity of the fluid at the boundary layer, would have important value for fluid machinery.
Footnotes
Academic Editor: Chien-hong Lin
Declaration of conflicting interests
The author(s) declared no potential conflicts of interest with respect to the research, authorship, and/or publication of this article.
Funding
The author(s) disclosed receipt of the following financial support for the research, authorship, and/or publication of this article: The authors are grateful for grants received from the National Natural Science Foundation of China (grant no. 51475203), the high-tech industrialization demonstration projects of Jilin province (grant no. 20140307030GX), and the 111 project.
